Formify is using MJF to 3D print custom mice made to order specifically for your hand alone. The company says that it only needs a picture of your hand and then will use the magic of machine learning to generate the relevant STL. If this works this could be a new path to mass customization that dispenses with 3D scanning.
A new paper looks at how we can use bioprinting to study plants, which would be a new application area and market for the technology. The team from NC Plant Sciences Initiative of the North Carolina State University in Raleigh North Carolina may have opened up a wholly new market.
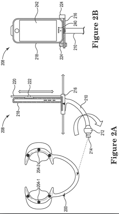
A patent by Align showcases a customized 3D printed set of retractors to keep your mouth open. What’s more, this set of retractors will also hold your phone. Yes, its crazy but coming from a completely disruptive company such as Align that is one of the world´s. biggest 3D printing users means we need to take a gander.
